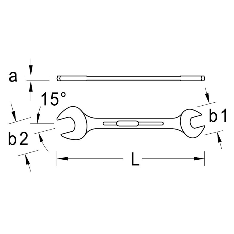
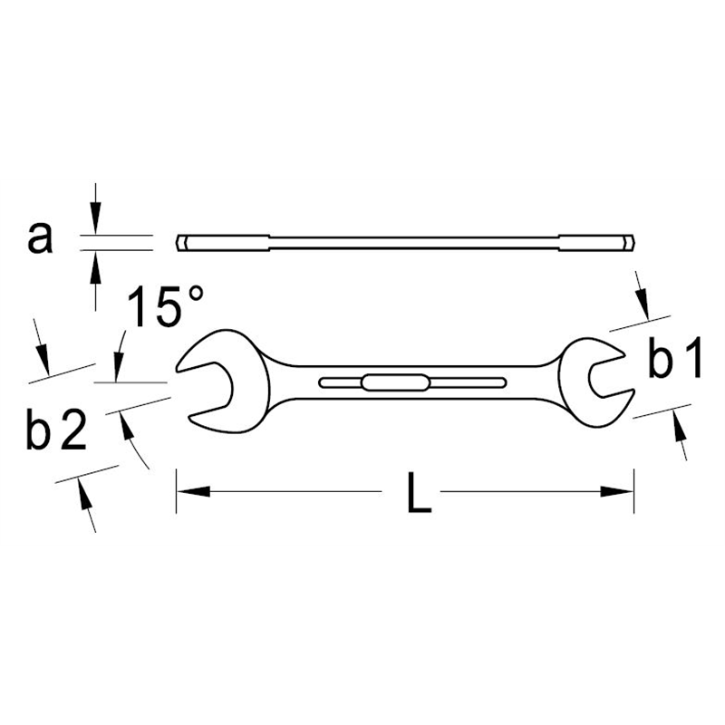
Omschrijving
Dubble steeksleutel 13x17mm nr. 6
- Uitvoering volgens DIN 3110, ISO 3318, ISO 1085, ISO 10102
- Hoogwaardige industriekwaliteit voor continue belasting onder zware omstandigheden
- Overbelasting wordt aangegeven door vervorming
- GEDORE-vanadium staal 31CrV3, bekken fijn geslepen, verchroomd