Deze website maakt gebruik van cookies, als je doorgaat met het gebruik van deze website stem je hiermee in
Omschrijving
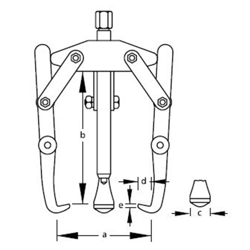
Trekker 2-armig 1.14