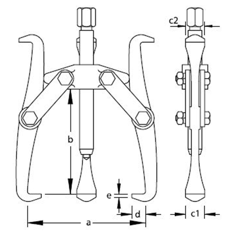
Omschrijving
Universele trekker 2-armig 1.10
- Beproefde, krachtige uitvoering om schijven, wielen, kogellagers enz. te trekken
- De dubbelzijdig te gebruiken brede of smalle haakeinden trekken zichzelf vast
- De brede haakeinden van trekkers 1.10/2, /3, /4 en /5 zijn van 8 mm sleuven voorzien, zodat schijven of tandwielen ook met behulp van 8 mm schroeven kunnen worden getrokken